- Joined
- Jan 11, 2025
- Messages
- 369
- Level up in
- 131 posts
- Reaction score
- 710
- Points
- 1,477
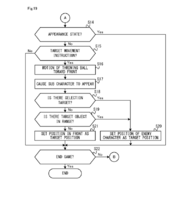
I did read the patent. So, let's look at the breakdown of how this patent "works" - the numbered points I mostly lifted elsewhere and the non-italicized portions my own explanation on this:Except no, because that's not what was patented.
View attachment 109465
What was patented was being able to access two different battle systems based on whether the primary character or summoned character is the one to contact the opponent, and very specifically if you read the patent it's a command based system if the player character makes contact and an auto-battle system if the summoned character makes contact.
They did not patent summoning characters, that is not what happened.
(1) There must be a PC, console or other computing device and the game is stored on a drive or similar storage medium.
Pretty self-explanatory. It has to be a computer, console, dedicated electronic device, and/or any other electronic device that can store and run code This would include a graphics calculator.
(2) You can move a character in a virtual space.
Again self-explanatory - this part means that you must control a character/avatar.
(3) You must be able to summon another character - Nintendo calls it in the patent a “sub character”, by which they mean it’s not the player character. For example, a monster such as a Pokémon that the player character has at its disposal.
Self-explanatory again. You must be able to summon a character that is not your avatar. However, there is no specific definition to this part. You could be summoning a rat, another human character, a God, or even a taxi.
The next step, step 4, I have broken-up to 4a) & 4b) as the two options are mutually exclusive to one another:
(4a) This is about summoning the “sub character” in a place where there already is another character that it will then, when instructed to do so, fight.
This means you, as the player, summon a non-avatar "sub character" into a position where there is another character for the purpose of doing battle. In other words, summon a "monster" in a battlescreen/battlefield.
(4b) This alternative scenario is about summoning the “sub character” at a position where there is no other character to fight immediately.
This means you, as the player, summon a non-avatar "sub character" into a position where there is no other character for the simple purpose of summoning said "sub character" and not for battle. In other words, summoning a "monster" outside of battle for any other purpose, such as riding (recently patented), performing specific map actions like cutting down a tree in the avatars' way, or just for the hell of it.
(5) This final step is about sending the “sub character” in a direction and then letting an automatic battle ensue with another character. It is not clear whether this is even needed if one previously executed step (4a) where the “sub character” will basically be thrown at another character.
This is the part that is causing the most discussion. What does an "automatic battle ensue with another character" actually mean? This at first glance appears to be defining an "autobattler" system, where the game fights for the player/Avatar without player input. Which in itself is alarming as there are a TON of RPGs that offer an auto battle system (such as Dragon Quest XI). As point 5 also happens after point 4a, where the summoned monster/"sub character" is performed while in a battle screen, this would exempt the autobattle requirement as an autobattle wouldn't allow for player input to summon a "sub character" in the first place - which is part of the definition of part 4a.
"Sending the 'sub character' in a direction" simply means "target the enemy/object."
The next part to consider is that I'm only aware of a couple of Pokemon games that allow for autobattle - Scarlet and Violet. Every other Pokemon title that features a battle system (as opposed to, say, Pokemon Pinball or Pokemon Snap) is player/menu driven. This seems like an odd restriction...until you realize that the legalize of the wording describes any sort of battle that ensues automatically with another character - be it a random battle or by coming into contact with another character on screen. These battle occur automatically, therefore there are a form of "automatic battle." This WOULD allow Nintendo to claim patent on any game with any form of forced battle mechanic that allows for summoning a non-avatar "sub character."
TL;DR - Nintendo patented summoning.
